
為解決光纖進入鋼製容器時造成的泄漏問題,密封轉接是一種有效方法。在容器上開口並安裝轉接法蘭盤,可實現多根光纖密封轉接。由於光纖纖芯較脆,密封轉接時需保持連續性,密封處理難度大。因此,一般采用特殊的灌膠密封結構形式,其密封缺陷的存在形式和查找方法也較複雜。為滿足光纖轉接的密封性能檢測要求,開展了相關氦質譜檢漏技術研究。建立了光纖內部密封缺陷的高靈敏度定量檢測方法,為光纖轉接的密封性能評估和缺陷提供準確可靠的檢測數據。
一、光纖轉接密封結構與缺陷分析
1.光纖轉接密封結構
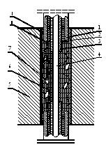
通過光纖轉接盤的每根光纖配備一個轉接器,轉接器與光纖之間的密封方法是:光纖連續穿過轉接器的中心通孔,將處於轉接器內部的光纖段割掉保護層裸露纖芯並對轉接器中心孔內灌膠填充實現密封;轉接器通過螺紋壓環、定位卡環和真空橡膠墊圈安裝固定在轉接盤上(如圖1)。一個轉接盤可同時轉接數十根光纖。

1- 光纖;2-光纖轉接盤;3-螺紋壓環;4-定位卡環;5-光纖內部灌膠段;6-轉接器主體;7-真空橡膠墊圈;8-轉接盤灌膠麵
圖1光纖轉接器密封結構圖
2.光纖轉接結構密封缺陷分析
目前,光纖轉接結構可能出現密封缺陷有:
(1)光纖轉接器與轉接盤間的密封
光纖轉接器安裝在轉接盤時主要通過在兩個金屬麵間壓入真空橡膠墊圈實現密封,由於轉接盤上的密封配合麵為沉孔台肩,難以實現高精度加工,加之如圖1所示結構不能較好地限製墊圈的徑向變形,墊圈受壓易變形錯位,密封穩定性差,稍有不慎易導致密封失效。因而光纖轉接器與轉接點間的配合結構是密封的薄弱環節,也是檢漏的重點。
(2)光纖與轉接器間的密封
轉接器內部的光纖通孔較長且直徑小,通孔內灌膠難以密實,膠體內可能存在氣泡、裂紋等缺陷。此外,輕微碰撞或溫度等環境狀況的變化,可能引起膠體同轉接器內壁、光纖之間的結合狀態發生改變,從而形成裂隙、產生漏孔,或是導致原有缺陷擴大貫通而形成泄漏通道(如圖2所示)。光纖從內至外分別有光纖芯、固定層、緩衝層及包裝層四層,各層之間間隙不等(其中固定層與包裝層之間的緩衝層材質疏鬆)。上述各層間未作密封處理,在特定條件下,可能構成泄漏通道。
總之,光纖的密封處理結構中,可能存在的泄漏通道有兩種:一種貫穿整個灌膠層而連通轉接器上下兩端(圖2所示泄漏通道Ⅰ),這種漏孔在轉接器外部噴氦就可以被查找到;另一種未貫穿整個灌膠層但連通轉接器兩端光纖保護層間隙(圖2所示泄漏通道Ⅱ),這種漏孔需要在光纖內部施氦才能被檢測到。

1-包裝層;2-緩衝層;3-固定層;4-光纖芯;5-轉接器;6-裂紋;7-氣泡
圖2 光纖轉接器內部漏孔示意圖
根據上述分析,就光纖密集布設的多通道光纖轉接盤檢漏而言,需要解決轉接器與轉接盤的配合結構密封性能檢測、光纖穿過轉接器密封處理的密封性能檢測等問題。
二、轉接器與轉接盤之間的密封檢測
采用噴吹法對轉接器與轉接盤間的橡膠墊圈密封性能檢測,並判斷轉接器內部灌膠是否存在連通轉接器上下兩端的超標漏孔。

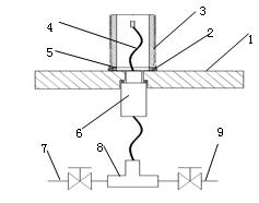
1-光纖轉接盤;2-噴槍;3-光纖轉接器及光纖;4-密封圈;5-集氣室;6-檢漏係統
圖3 轉接器檢漏係統示意圖
在轉接盤的一側安裝集氣室,連接檢漏係統,用噴槍對各轉接器噴氦(如圖3)。光纖轉接器密集分布,施加的氦氣極易擴散至鄰近密封部位,因此,為避免誤檢誤判,采用了如下檢漏工藝:
(1)對於多處密封結構密集分布的部位檢漏,采用設計有細長型噴嘴的專用噴槍,盡量靠近被檢部位噴氦並控製噴氦流量,減少了鄰近的漏孔對當前部位檢漏的影響;而且一旦有漏,進入檢漏係統的氦較少,便於清除本底。
(2)為盡可能持久地將氦氣局限於被檢部位而不致擴散到鄰近部位,在被檢轉接器外部罩上一個限製氦氣擴散的簡易罩筒,作為噴吹法的輔助檢漏工裝。
(3)當已檢出泄漏超標轉接器時,為避免氦氣擴散至該泄漏轉接器而影響對周邊轉接器漏率的判斷,使用輔助抽氦泵對泄漏超標轉接器表麵抽真空,或是使用氮氣沿泄漏超標轉接器處向已檢轉接器方向噴吹。
(4)對查出的超標漏點作標記、暫時封堵或采取其它相應措施,以避免對後續檢漏工作的影響;待所有部位均檢漏完畢,對超標漏孔統一進行封堵並複檢,依此操作直至查不到泄漏環節。
三、光纖與轉接器之間的密封檢測
在轉接器中光纖纖芯是連續的,但纖芯外的保護層被剝除一段而分成上下兩段(如圖2)。如果在纖芯外的膠體內,存在連通兩端保護層間隙的漏孔,在光纖外噴氦無法查找到。為此,研究設計了光纖內部充氦高靈敏度(小於1.0×10-11Pa•m3/s)檢漏方法,判斷在轉接器內過光纖之通孔的灌膠體是否存在連通光纖各保護層的內部泄漏通道。
將轉接器接入檢漏係統中,在轉接器外對光纖通孔的密封膠噴氦並觀察檢漏儀輸出信號的變化;隨後將轉接器另一端的尾纖末端封入充有氦氣的氣囊中,觀察檢漏儀輸出信號的變化。
實驗發現,在轉接器外向光纖密封膠部位噴氦,檢漏儀輸出信號保持本底狀態的情況下,有些光纖內部充氦時卻有輸出信號連續上升、穩定時間較長的現象,表現細長型漏孔的泄漏特征。此時,如果將這些光纖封入氦氣囊中的尾纖與真空泵連接並抽真空,檢漏儀輸出信號迅速下降(如圖4)。通過上述實驗,可以判定轉接器內部膠體確實存在一種連通轉接器兩端光纖保護層間隙的缺陷,從而形成光纖內部漏孔。

圖4 一次典型的光纖泄漏信號曲線圖

1-光纖轉接盤;2-密封圈;3-波紋管;4-光纖;5-密封圈支架;6-光纖轉接器;7-抽真空氣路;8-三通;9-充氦氣路
圖5 光纖檢漏係統示意圖
在光纖轉接器內部密封缺陷分析實驗的基礎上,進一步研究安裝在轉接盤上光纖轉接器的光纖內部充氦檢漏技術。根據轉接器在轉接盤上的安裝狀態和轉接盤的結構特點,設計製作檢漏接口器件,這種器件主要由密封圈和密封圈支架組成,可以保證波紋管與轉接盤密封良好,構成包容光纖轉接器一端尾纖的集氣室(如圖5)。利用三通和厚壁軟管構成光纖轉接器另一端尾纖的抽真空和充氦裝置。
使用檢漏儀直接對作為集氣室的波紋管抽本底並標定靈敏度,對另一尾纖抽真空後充氦。檢測結果顯示光纖的漏率處於10-9~10-8Pa•m3/s之間。
四、結論
(1)通過研究光纖密封轉接的氦質譜檢漏工藝和光纖內部充氦檢漏方法,證實了光纖轉接器內部存在特殊的漏孔,這種漏孔未貫穿整個灌膠層但連通轉接器兩端保護層間隙。
(2)利用光纖多層保護結構形成集氣空間,實現了光纖轉接器內部漏率定量檢測,檢測靈敏度高達1.0×10-11Pa•m3/s。